- Главная
- Комплектующие
- Точные измерения и контроль процесса обработки
- Датчики для станков
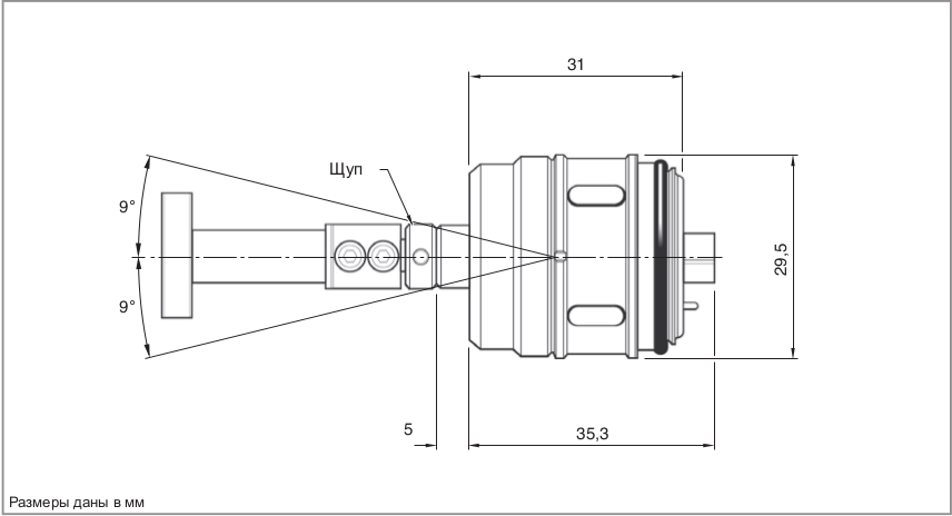
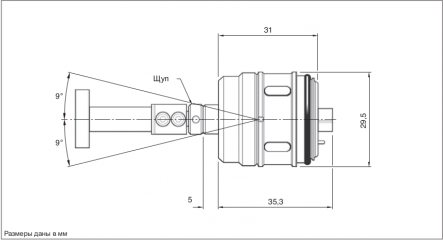
- Прецизионная съёмная рука HPRA RENISHAW
Прецизионная съёмная рука HPRA RENISHAW
Артикул A-2176-0736
Для токарных и многоцелевых станков.
Проводная передача сигнала.
Датчик RP3.
Повторяемость 5,0 мкм, 8,0 мкм.
ООО «Эффективное производство» - официальный партнер компании RENISHAW в России
360 000 руб.
Рука HPRA — съемное приспособление для настройки инструмента, которое оператор устанавливает на станок вручную перед началом наладки и снимает по ее завершении. При выполнении измерений устройство жестко закрепляется на своем основании, гарантируя высокую точность повторного позиционирования. В нерабочем состоянии рука размещается на держателе — на самом станке или рядом с ним.
Преимущества руки HPRA RENISHAW
- Неиспользуемая рука снимается со станка, занимает очень мало места.
- Постоянная сигнализация о состоянии системы с помощью двухцветного светодиодного индикатора.
- Наладка инструмента выполняется за время, которое может достигать значений на 90% меньше времени, затрачиваемого при использовании традиционных методов.
- Предусматривает установку на уже используемые станки.
- Защита датчика в случае выхода за пределы перебега с помощью ломкого предохранителя щупа.
- Щупы имеют конфигурации, позволяющие работать с инструментом следующих размеров: 16, 20, 25, 32, 40 и 50 мм.
- Улучшение управления технологическим процессом и снижение объема брака.
- Повышение производительности и прибыли за счет сокращения простоев станка.
Датчик RP3
Датчик с контактным механизмом срабатывания для контроля инструмента и установки заготовок на токарных и фрезерных станках. Монтируется в держатели сторонних производителей, оснащен резьбой M4 под любые щупы Renishaw. Подключение интерфейсного кабеля осуществляется через OEM-комплект. Короткий корпус улучшает доступность при настройке и сохраняет эффективность стандартных контактных датчиков Renishaw.
Совместимые интерфейсы / устройства передачи сигналов: TSI 2, TSI 2-C.
|
Параметр |
Значение |
|
Исполнение |
Стандартное с выходом кабеля «в станок» / Стандартное с выходом кабеля сбоку |
|
Основное назначение |
Измерение размеров инструмента и обнаружение его поломки на двух- и трехкоординатных токарных станках с ЧПУ |
|
Способ передачи сигнала |
Проводная передача сигналов |
|
Датчик |
RP3 |
|
Совместимые интерфейсы |
TSI 2 или TSI 2-C |
|
Кабель (к интерфейсу) |
Ø 4,0 мм, двухжильный экранированный кабель; каждая жила: 7×0,2 мм |
|
Длина кабеля |
3 м, 5,5 м, 10 м, 12 м (стандартный выход «в станок») |
|
Направления измерений |
±X, ±Y, +Z |
|
Максимальные отклонения стилуса |
XY = ±12,5°; Z = 6,0 мм |
|
Стандартная повторяемость позиционирования |
5,00 мкм (2σ) X/Z (руки для станков с патронами Ø 6–15 дюймов) |
|
Усилие срабатывания щупа |
Малое усилие в плоскости XY: 1,50 Н (153 гс) |
|
Масса (без держателя инструмента) |
Около 250 г |
|
Класс защиты |
IPX8 (EN/IEC 60529) |
|
Монтаж |
Болты M6, 3 шт. |
|
Рабочая температура |
Эксплуатация: от +5 до +60 °C |
Источник питания датчика RP3
|
Параметр |
Значение |
|
Тип батарей |
2 литий-тионилхлоридные батарейки ½AA, 3,6 В |
|
Максимальный срок службы батареи |
Не более 230–270 часов при непрерывном использовании (в зависимости от режима включения/выключения) |
Для заказов на сумму более 50 000 руб. доставка включена в стоимость.
В других случаях рассчитывается исходя из веса отправления и региона доставки.
Возможна доставка любой удобной для заказчика ТК
Сроки доставки от 1 до 3 дней по Центральному региону
По умолчанию мы работаем с двумя курьерскими компаниями:
Major — российская компания, занимающаяся продажей автомобилей и перевозками грузов. Крупнейший, наряду с «Рольфом», автодилер страны.
DPDgroup — международная служба экспресс-доставки. В среднем ежедневно доставляет более 5 миллионов посылок. Работает под торговой марками DPD.
Это наши проверенные партнеры. Однако если вы предпочитаете работать с другой курьерской службой, у нас нет ограничений. Просто сообщите нам об этом. Мы согласуем все условия и отправим заказ с полным комплектом сопутствующей документации.
Как оплатить?
Оплата принимается по безналичному расчету. После согласования заказа мы выставляем счет на оплату. Заказ считается оплаченным после поступления суммы заказа на расчетный счет ООО «Эффективное производство».
Как получить?
География доставки — вся Россия. При перевозке грузы подлежат страхованию. Обычно доставка входит в стоимость продукции.
Приобретая продукцию у нас, вы можете быть уверены, что получаете оригинальное сертифицированное оборудование, комплектующие и оснастку.
На весь представленный ассортимент распространяется гарантия завода-изготовителя. Для каждого конкретного изделия производитель устанавливает определенный гарантийный срок. Обычно он составляет 12-36 месяцев.
Согласно п. 1 ст. 471 Гражданского кодекса РФ гарантийный срок на товар исчисляется с момента фактической передачи его покупателю.
При наступлении гарантийного случая и отсутствии следов некорректной эксплуатации, осуществляется замена неисправного оборудования в соответствии с Законом о защите прав потребителей.
Если утрата функциональности изделия связана с механическими повреждениями, попытками модификации или ремонта, нецелесообразным использованием, то компания ООО «Эффективное производство» не несет за это ответственности, а действие гарантийных обязательств прекращается.
Иногда мы сталкиваемся с ситуацией, когда подлинные запчасти работают некорректно, т.к. нарушена технология их установки. В таком случае наши инженеры удаленно помогают клиентам наладить эксплуатацию.






































